
KTU, KTS, KTT & SU 1800 – Kantskoningar och hörnskydd
Vad är kantskoningar och hörnskydd?
KTU, KTS, KTT & SU 1800 -kantskoningaroch hörnskydd är standardståldelar som installeras i betonggjute innan det härdar, och som fungerar antingen som lastöverförande stålkomponenter eller som stålkomponenter som skyddar hörnen på en betongkonstruktion.
Vad används kantskoningar KTU, KTS och KTT till?
KTU – utvändiga kantskoningar installeras för att skydda de utvändiga eller invändiga hörnen på en betongkonstruktion. De är inte en lastöverförande ståldelar. En typisk tillämpning av KTUhörnfästen är till exempel som tröskelplåtar.
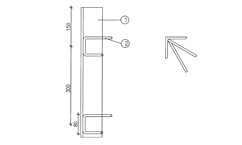
KTS – invändiga kantskoningar används vanligtvis till exempel som upplag för gallerdurk.
KTT – kantskoning överför de laster som appliceras på dem till betongkonstruktioner med hjälp av sina förankringar.
Vad är skillnaden mellan KTS-, KTT- och KTU-kantskoningar?
Vad används SU 1800 hörnskydd till?
SU 1800 hörnskydd installeras för att skydda det yttre hörnet av en betongkonstruktion. Den är inte en lastöverförande stålkomponent.
Vilken ytbehandling har vinkelstålen?
Vinkelstålen som består av konstruktionsstål, har alltid en skyddsfärg på den synliga ytan. Vinkelstålen kan även levereras varmförzinkade.
Material och dimensioner
Samtliga kantskoningar och hörnskydd består av vinkelstål med svetsade kamstålsförankringar.
Produkterna är tillverkade antingen av
- Konstruktionsstål (S235JR+AR eller S355J2) med skyddsfärg
- Rostfritt stål (1.4031)
- Syrafast stål (1.4401)
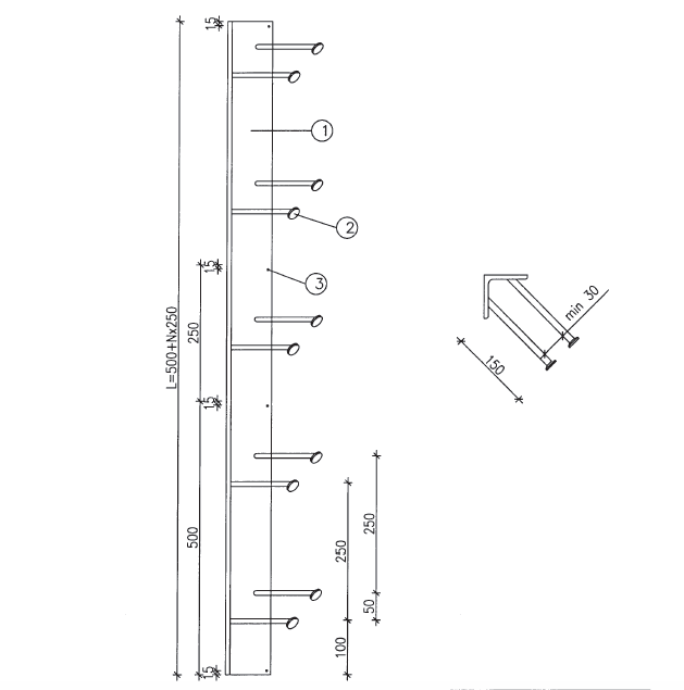
KTU- ja KTS-vinkelstålens förankringar är utförda av kamstål i kvalitet B500B och i rostfri kvalitet B600XB / B600XC (B600KX). KTT-vinkelstålen är försedda med studsförankringar som antingen är tillverkade av konstruktionsstål i klass S355J+N eller rostfritt stål i klass 1.4301. Standardstorlekar varierar från 50 x 50 x 5 – 100 x 100 x 10 mm.
Tillverkning
Hörnbeslagen tillverkas med MAG-svetsningsmetoden i en EN1090-certifierad verkstad. Produkterna tillverkas genom handsvetsning. Alla hörnbeslag finns även varmförzinkade.
Installationsanvisningar
Installationsanvisningarna och användarmanualen finns att ladda ner högst upp på den här sidan.




