
SSK – Seinäkenkä
SSK-seinäkenkä on betonivaluun asennettavia teräsosa, joilla siirretään jäykistävien betonielementtiseinien vetovoimia elementtien välillä. Soveltuvat myös muihin seinämäisten betonielementtien liitoksiin, kuten maanpaine-elementteihin.
Miten SSK-seinäkenkää käytetään?
Asennetaan betonivaluun ennen sen kovettumista. Ne siirtävät niihin kohdistuvat kuormitukset betonirakenteisiin teräsosissa olevien tartuntojen avulla. Niitä käytetään yhdessä SUJ-peruspulttien (malli SSK H) tai SELP-peruspulttien (malli SSK P) kanssa.
Mihin käytetään?
Käytetään jäykistävien betonielementtiseinien vetovoimien siirtämiseen elementtien välillä. Tyypillisiä käyttökohteita ovat toimisto-ja liikerakennusten seinäelementit. Voidaan käyttää myös muiden seinämäisten betonielementtien ja maanpaine-elementtien välisissä liitoksissa.
Mitä osia niissä on?
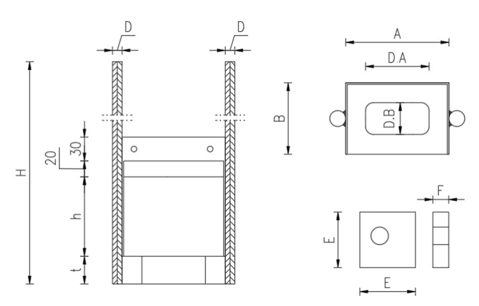
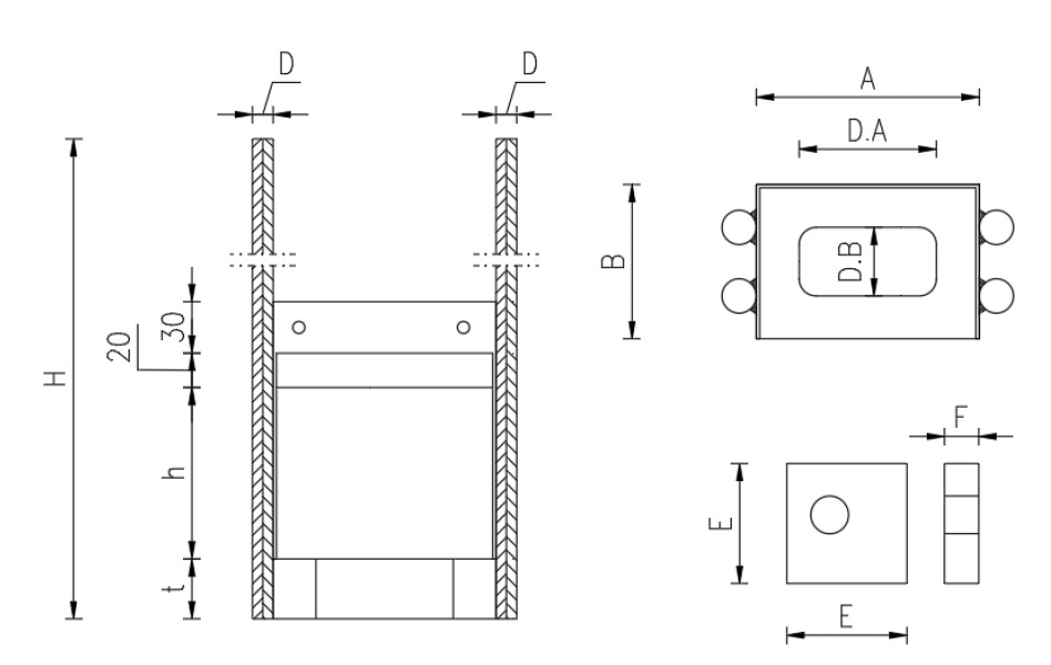
Koostuvat pohjalevystä ja siihen hitsatuista harjaterästartunnoista ja kotelosta.
Materiaalit ja koot:
- Pohjalevy ja aluslevy: musta rakenneteräs S355J2
- Kotelo-osa S235JR -teräs
- Tartunnat harjateräs B500B
Koot: SSK16-SSK52.
Suunnittelukomponentit
Suunnittelukomponentit ovat ladattavissa Teklan Warehousesta.



