
LTT – Kiinnityslevy
Mitä LTT-kiinnityslevyt ovat?
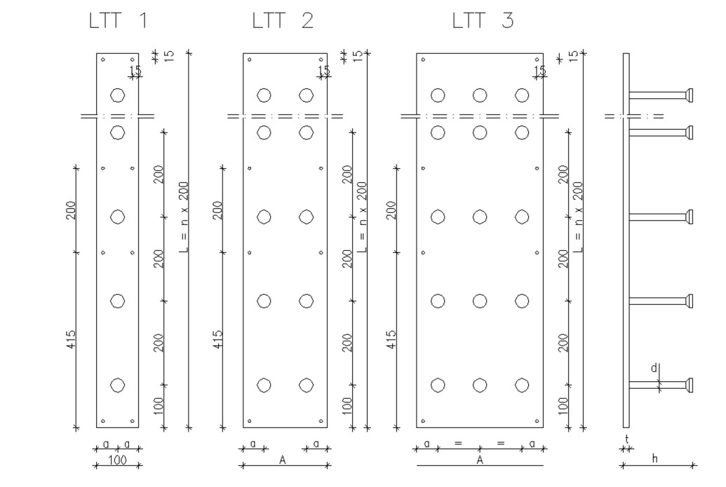
LTT-kiinnityslevyt ovat betoniin ennen sen kovettumista asennettavia tyssäkantaisilla ankkuroinneilla varustettuja kiinnityslevyjä.
Mihin LTT-kiinnityslevyjä käytetään?
LTT-kiinnityslevyt on tarkoitettu hitsausalustaksi teräsprofiileille erityisesti kohteissa, joissa tarvitaan pitkää tai kohdekohtaista kiinnityslevyä.
Miten kiinnityslevyt toimivat?
Kiinnityslevyt siirtävät niihin hitsatulta teräsrakenteelta tulevat kuormat betonirakenteelle tartuntojen välityksellä.
Missä niitä käytetään?
Käytetään teräsrakenteissa, betonielementeissä ja koneperustuksissa.
LTT:n materiaalit ja mitoitus
- Rakenneteräs S355J2
- Ruostumaton teräs 1.4301
- Ruostumaton teräs 1.4301 ruostumattomin ankkuroinnein
Levyvahvuudet ovat 15–20 mm ja levyt valmistetaan aina tilauksen mukaan halutun pituisina. Tartunnat ovat pyöröterästä laadussa S355J2 tai harjaterästä laadussa B500B.
Miten valmistetaan?
Valmistetaan MAG-hitsausmenetelmällä EN1090-sertifioidussa konepajassa ja ovat jäljitettävissä levyn pintaan tehtävien merkintöjen avulla.


